オーディオみじんこ
わが愛しのオーディオアクセサリー
電源ボックスSaturnianMoonsの製作
その2:設計思想と材料

【新型電源ボックス Saturnian Moonsの設計思想】

ステンレス製内蔵型電源ボックスをホームページに紹介してしばらくのこと、何人かの方からお問い合わせのメールをいただいた。ステンレスプレートはそのままの独立型電源ボックスを作ってくれないかという内容だった。製作者としては関心をいただいて嬉しいことなのだが、すぐにできることではない。それから考えることしきり。せっかく依頼されて作るのであれば、私ならではの工夫を盛り込みたい。メーカー品を凌駕するくらいの性能を有しながらも、購入しやすい価格にしたい。そうこう考えているうちに、様々なアイデアが浮かんできた。その時考えていたこの電源ボックスの設計コンセプトを挙げてみよう。

  1.所有する満足感を得られるような美観を追求する。

  2.メーカー品にはないアイデアを盛り込み、高音質化を狙う。

  3.パーツ一つ一つを吟味し、徹底した作り込みをおこなう。

  4.6万円クラスのメーカー品と渡り合える音質を有しながらも、手頃な領布価格にする。

  5.IECインレット/内部配線材/配線方式/制振処理の違いによる音質比較実験をおこなう。

【新型電源ボックス Saturnian Moonsの仕様】

さらに、ステンレスプレート電源ボックスの具体的な仕様を煮詰めてみた。これらの仕様が具体化するには2ヵ月ほどの期間を要している。

プレート材質
4mm厚ステンレス板
ケース材質 15mm厚フィンランドバーチ合板
電源供給個口 6個口
コンセント個数 3個
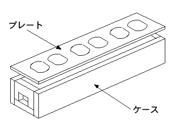
ケース寸法 365×100×68
コンセント品名 UL規格アメリカン電気7110GD
コンセント固定手段 プレート固定型
コンセントとプレートの固定方式 3点ネジ留め固定
コンセント取り付けネジ M3.5ステンレス皿ネジ
プレートとケースの固定方法 M3.5ステンレスタッピング皿ネジによる6点固定
内部配線分岐方法 IECインレットから各コンセントへの個別分岐
ハンダ ゴールドニッカス無鉛ハンダ
IECインレット 比較試聴用に7種類用意
内部配線 東日京三EM-EEF2.0など単線3種類

まず、プレート材質。これはラック内蔵型電源ボックス同様に4mm厚ステンレス板を使用。内蔵型電源ボックス製作の際に作図した図面を独立型仕様に若干の修正を施せばいい。カット加工も前回同様、レーザー加工業者に依託する。これが今回の電源ボックスに使うステンレスプレートのカット図。4mm厚ステンレスを使用する。

ケース材質は合板を使うことにした。ケースとは、電源ボックスにおけるプレートを固定する本体部分のこと。合板といっても普通の合板ではない。音響素材として名高いフィンランドバーチ合板を使うのだ。音響用合板としては最も高額な板材だ。厚みは15mm。フィンランドバーチは普通の合板より密度が高く、積層の質も上等。フィンランドバーチに匹敵する板材として、アピトン合板の使用も考えた。しかし、アピトンよりフィンランドバーチの方がプライ(合板の積層)が緻密て、断面が美しい。アピトン合板はスピーカー製作時に使用したことがあるが、フィンランドバーチはいまだ経験がないので使ってみたかったというのもある。板材購入とカットは新木場のもくもくに依頼した。フィンランドバーチは東急ハンズ渋谷店にもあるのだが、板単価がもくもくの倍近いので却下。

電源供給個口6個口にしたのは、このくらいあった方が何かと便利だからである。最近は、ピュアオーディオ機器にDVDプレーヤーなどAV機器を併せ持っている人が多い。そうなると、6個口くらいは欲しいところである。デジアナ分離、或いは大電力パワーアンプなどを別々の電源ボックスで給電すれば、6個口もいらないかも知れない。しかし、現実にはそうそう理想的な電源供給環境を揃えられる人は少ない。どうしても、1台の電源ボックスで全てのオーディオ機器の電力を分配せざるを得ないというパターンは多いはずだ。そうなると6個口は欲しいところだ。6個口となるとコンセント個数は3個。コンセント1個の長寸は105mmほどなので、3個を縦列配置すると330mmほど必要となる。ケース部分の板厚を鑑みると全長360mmほどの電源ボックスとなる。これらコンセントの配置間隔やケースとの兼ね合いを考慮して、電源ボックスの寸法を割り出していく。

ケース寸法は2パターン考えた。上の写真は段ボールで製作した電源ボックスのモックアップ。大きい方の寸法は365×100×68。小さい方は365×90×53。様々な考察を繰り返した末、大きい方を採用することにした。小さい方がスマートでまとまりがいいし、小さい分だけ材良材も少なくて済む。しかしながら、大きい方が当然ながら内部空間が広いので、内部配線材を取り廻ししやすいだろうと考えた。大きい方が底面も広いので安定度も増す。大は小を兼ねるという言葉があるでは無いか。ただ、今となって思うに、小さい方でも十分に配線作業は出来たと思う。

コンセントUL規格がいい。UL規格対応にしておけば、ユーザーが自分でコンセントを交換したい時にも、なにかと都合がよい。高音質コンセントはUL規格品に多いためだ。自作ではUL規格コンセント対応プレートの製作がネックになってしまうのだが、私は業者に委託して金属板にULコンセント用の穴をレーザーカットで正確に開けてもらうので問題ない。

コンセントはアメリカン電気7110GDを用いることにした。125V-15A仕様となっている。7110GDがオーディオ雑誌に紹介されたことは今まで無いはずだが、これはかの有名なオヤイデ電気SWO-DXの原型モデルなのだ。
7110GDの電極はメッキレスりん青銅だ。このコンセントを使用してみたところ、エネルギー感があり、それでいながら癖や歪み感の少ない音質に感心した。

ただ、このコンセント、業務向けの流通商品なので、一般の小売店舗では見かけることはない。秋葉原のパーツ店にも置いていない。あえていうなら、7110GDの20A仕様となる7210GDなら、秋葉原の愛三電気と九州電気に置いてある。私はラジオストアー内の九州電気にお願いして、7110GDを50個ほどメーカーから取り寄せてもらった。7110GDを採用するに至った経緯にはオヤイデ電気の社員さんのお話がきっかけ。オヤイデの社員さんがオヤイデオリジナルのコンセントの製作を始めるにあたって、原型となるコンセントを探すことになったそうだ。国内で流通している様々な3Pコンセントをかき集めて比較試聴をおこなった結果、7110GDが群を抜いて良かったとのこと。SWO-DXは7110GDの電極にロジウムメッキを施し、さらにケースの樹脂に強化繊維を混入した強化モデルなのだ。SWO-DXは元気があって解像度も抜群なのだが、SWO特有の高域の「シャリッ」とした癖が耳について嫌だという人もいるだろう。そういう人には、むしろこの原型モデル7110GDの方がフラットな傾向で、高域のピークも無いので好ましいかもしれない。とはいっても、入手は困難だが。

コンセント固定手段は2パターン考えられる。一つはケース本体に固定する方法。この場合、コンセントをケースに固定してから、コンセントプレートを被せることになる。メーカー品の多くはケースに固定する方法を採用している。もう一つはコンセントプレートに固定する方法。この場合は、まずコンセントをプレートに固定し、これをケースに固定することになる。IECインレットをケースに取り付けている場合、前者のほうが内部配線がやりやすい。導通部分のパーツは全てケースに固定されているわけだから、全ての配線を済ませてから、プレートを被せればいい。ただ、前者の手法を採用した場合、ケースに固定したコンセントと上から被せるプレートとの噛み合わせの精度が問題となる。また、コンセントを固定する台座をケース内に設けなければならない。台座の高さも正確に揃っていないと、3つのコンセントが全く同じ高さに、しかも水平に固定できない。コンセントが歪んで取り付いてしまうと、プレートから均一の位置にコンセント口が突出してくれない。3個のコンセントがケースの正確な位置に固定できて、プレートをぴったり被せられればいいのだが、そうはなかなかいかない。メーカーのようにコンピューター制御で金属を削って、寸部違わずパーツが組み合わせるようになっていればいいのだが、自作の場合は半ば手作業で精度を追求せざるを得ない。特に、今回のケース部分は木材を使用する。木材カット業者のカット精度は完璧ではない。コンマ数ミリの誤差は必ず生じるので、組んだ木材ケースの完璧な精度を出すのは難しい。一旦加工してもらった板を手作業で修正するにも限界がある。そんなわけで、内部配線がやりにくいのを承知の上でプレート固定型を選んだ。この手法のメリットはプレートに正確な穴さえ開いていれば、コンセントが均一に取り付けられることにある。この場合、ケース部分に固定されたIECインレットとプレートに固定されたコンセントを橋渡しするように内部配線を固定しなければならないという作業上の難点が生じるのだが、内部配線を長めにしておけばなんとか固定できるはずだ。この方式を採用した理由は他にもあって、コンセントを3点ネジ留め固定したいという思惑が働いたからである。詳しいことは次に述べる。

コンセントとプレートの固定方式には3つのパターンが考えられる。まずは、コンセントの両端にある金具部分を使い、2点ネジ留め固定する方法。もう一つは、ULコンセントの中心にあるネジ穴を使い、1点ネジ留め固定する方法。このULコンセントの中心にあるネジ穴はオーディオ界において「ツボ」とか「ヘソ」とか呼ばれている。ここは本来、コンセントプレートを固定するためのネジ穴なので、コンセントプレート固定ネジ穴というのが適切かも知れない。3つめは、コンセント金具の両端とコンセント中心のネジ穴を使い、3点ネジ留め固定する方法。3点で固定するとコンセントは微動だにしない。ぐらつきは皆無だ。そんなわけで、3点ネジ留め固定を採用した。通常は2点支持で十分に固定できるため、あえて3点固定にする必要はない。だから、メーカー品で3点ネジ留め固定しているものはほとんど存在しない。ところが、AA誌面にて福田雅光先生がコンセントの中心ネジの重要性を発言された。コンセントのヘソネジ穴にネジを締めやると、音質が向上するというのである。そういう意味合いもあって、私はコンセントを3点固定することにした。自作だからこそ、メーカーがやれないことをできるのである。

コンセント取り付けネジの材質についても吟味した。オーディオでいうところのネジの材質には磁性体と非磁性体がある。音質的に有利なのは非磁性体だ。非磁性体のネジには真鍮・ステンレス・銅・アルミ・セイシン合金M2052などがある。銅とアルミのネジはほとんど存在しないので却下。M2052はコストが掛かりすぎるので却下。それに、M2052のネジ頭はかなり突出しているので、コンセントにプラグを挿す際、プラグと干渉してしまう恐れがある。あとは、真鍮かステンレスと言うことになるのだが、ステンレスを採用することにした。プレートもステンレス製なので、見た目のマッチングがよろしいと思われるからだ。硬度も抜群なので、音質的にも有利と見た。形状は皿ネジを使いたい。皿ネジの頭は平坦なのでプレートから突出しない。その方が見栄えがいい。ただし、皿ネジを使う場合、プレートに開けられたネジ穴の開口部をすり鉢状に切削してやるという手間が掛かる。ステンレスネジに決めたのには福田先生の影響もある。福田先生はAA誌の記事でコンセントを固定するネジの材質についても述べられており、複数の候補の中でステンレスが一番よかったとのこと。私自身もラック内臓電源ボックスにステンレスネジを採用している。

ステンレスネジを採用するのはいいとして、問題はここからだ。日本製のUL準拠コンセントの中心にあるネジ径は特殊なのだ。今回使用するコンセントを含め日本のJIS規格でのUL規格準拠コンセントのヘソネジ(コンセントプレート固定ネジ)はM3.5ネジでのみ固定できる設計されている。例でいうと、明工社、オヤイデSWOシリーズなどが該当する。M3.5とはネジの直径が3.5mmという意味なのだが、このM3.5ネジはかなり入手困難。M3やM4ならパーツ店で容易に入手できる。しかし、M3.5などという中途半端な口径のネジはよほどの専門店に行かないと入手できない。φ3.5のネジといえば「電気ナベネジ」という名前のものが売られてはいるのだが、これは磁性体なので使いたくない。しかも安っぽいユニクロームメッキが掛けられている。さらに、電気ナベネジはその名の通り、ネジ頭がお鍋形状に盛り上がっている。上のイラストの丸皿ネジという形状に該当する。これを使ってコンセントを固定すると、コンセントプレートからネジ頭が突き出してしまい見栄えも悪い。そんなこんなで、私のM3.5ステンレス皿ネジを探す旅が始まる。秋葉原のパーツ店をあらかた訪れたが、M3.5ステンレスネジは見当たらず。東急ハンズやホームセンターにも置いていない。

そんな時、私のホームページをご覧になられた方からメールをいただいたのだ。私が以前、M3.5ステンネジを探しているという記事をオーディオ聖地巡礼記に書いたのをご覧になられたのだ。その方の情報によると、東京都世田谷区に「ネジの永井」という店があり、ここならM3.5ネジが入手できるでしょうとのこと。場所は世田谷区上馬4丁目の環状7号線陸橋付近にあるという。この情報を頼りに、ネジの永井を訪れることにした。地図で調べると、東急田園都市線の駒沢大学駅が最寄駅のようだ。駒澤大学駅で降り、渋谷方向に数分歩くと環状七号線にぶつかる。ここを左に曲がり、環状七号線沿いをひたすら直進。歩くこと8分、陸橋の麓にネジの永井があった。さすがはネジの専門店。あらゆる形状のネジがずらりと並んでいる。その中からM3.5ステンレス皿ネジがないものかとひたすら探しまくるが見当たらない。店員さんに聞いてみると「M3.5ネジは特殊なのでウチにも在庫してないですね。ただ、メーカーに在庫があれば、すぐに取り寄せることができますよ」とのこと。とりあえず、ネジ、ワッシャー、ビスの必要個数をお知らせした。ネジの長さは10mmにした。12mmまではいいのだが、16mmになると長過ぎてコンセントのヘソネジに最後までねじ込めない。翌日、ネジの永井から見積書のFAXが届いたので、電話にて発注をお願いした。後日、M3.5ネジを取りに行ったときの店員さんの話。「M3.5を探しておられる方はけっこういらっしゃるみたいで、お客様以外にもM3.5を探して当店を訪ねてこられる方が時々いますね。」ほー、そうなのか。M3.5はやはり特殊なのだな。

そんなこんなで、やっとのことステンレスM3.5皿ネジを入手できたのである。ネジの永井、並びに情報を下さった方に感謝感謝。なお、見た目の統一感を出すため、ネジ頭の大きさを揃えたい。したがって、プレートとケースの固定方法にはM3.5ステンレスタッピング皿ネジを使用することにした。

その他にも、こだわりの部品を幾つも投入しているのだが、それらは製作過程で順次ご紹介しよう。次項では、今回の電源ボックス製作の主要目的である比較試聴用パーツをご紹介する。IECインレットと内部配線材についてだ。

その2
設計思想と材料
オーディオみじんこへ戻る
わが愛しのオーディオアクセサリーへ戻る